全国服务热线:13832329805

您的位置: 主页 > j9.com型号 > HH高扬程j9.com >
?
  • ·恭喜山西大同污水处理厂王经理订购30台AH系列j9.com 正在排产中;??·恭喜云南昆明大型洗煤厂张经理订购26台ZJ系列j9.com 正在排产中
  • ·恭喜陕西西安大型洗煤厂李经理订购28台ZJ系列j9.com 正在排产中;??·恭喜湖南长沙污水处理厂潘经理订购22台ZJG压滤机泵 正在排产中
  • ·恭喜宁夏银川大型选矿厂孙经理订购1200套j9.com配件 已安排发货;??·恭喜浙江杭州电力行业钱经理订购30台SP系列液下j9.com 正在排产中
  • ·恭喜辽宁大连抽沙行业王经理订购10台大型砂砾泵整机 正在排产中;??·恭喜四川眉山污水处理厂白经理订购30台10/8AHj9.com 正在排产中

高扬程j9.com

应用范围:

高扬程j9.com广泛应用于选矿、冶金、煤炭、电力、石油、化工、挖沙、城市排污、环保等行业。

参数范围:

【扬程】:12-118m

【流量】:16-720m?/h


点击获取选型报价 选型报价热线
13393215309

j9.com说明 / Explain

高扬程j9.com结构:HH型高扬程j9.com为悬臂、卧式双壳轴向吸入离心式j9.com。泵的吐出口位置可根据需要按45℃间隔,旋转八个不同的角度安装使用。
高扬程j9.com材质:HH型j9.com的泵体具有可更换的耐磨金属内衬,叶轮、护套、护板等过流部件均采用高铬耐磨金属。
高扬程j9.com使用:在小流量低扬程区域内,可以输送强磨蚀渣浆;在高扬程大流量区域内输送轻磨蚀渣浆。适用于冶金、矿山、煤炭、电力、建材等工业部门输送强磨蚀、高浓度渣浆,该类型泵也可以多级串联使用。
密封形式:填料密封、副叶轮密封、填料加副叶轮密封、机械密封等型式。
高扬程j9.com传动型式:DC直联传动,CR平行皮带传动,ZVZ上下皮带传动,CV立式皮带传动等型式。

j9.com结构图 / Structure

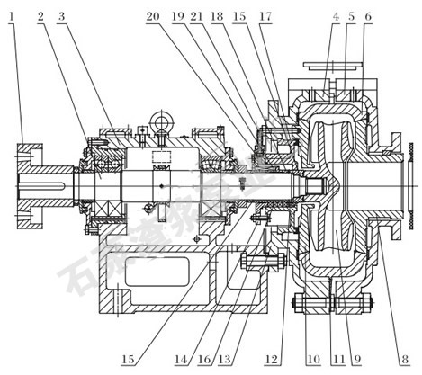
HHj9.com结构图

 

1、 联轴器
2、 轴
3、 轴承组件
4、泵体
5、 泵盖
6、 护套
7、 护套密封垫
8、前护板垫
9、叶轮
10、后护板
11、泵体螺栓
12、水封环
13、填料箱
14、对开填料压盖
15、轴套
16、填料
17、副叶轮
18、减压盖
19、密封垫
20、水封接头

 


j9.com性能参数表 / Parameter

 型号  配带功率P(KW)  流量Q(m³/h)  扬程H(m) 转速n(r/min)  最高效率η%   汽蚀余量NPSH(m) 叶轮直径 D(mm) 重量( kg)
 1.5/1C-HH  7.5-30  16.2-34.2  25-92  1400-2200 20   2-5.5  330  318
 3/2D-HH 15-60  68-136.8  25-87  850-1450  47  3.7.5  457  750
 4/3E-HH  18.5-120  126-252  12-97  600-1400  50  2-5  508  1250
 6/4S-HH  45-560  324-720  30-118  600-1000  64  3-8  711  3420


TAG标签: 卧式j9.com 高扬程j9.com
本文由石家庄j9.com厂家编写,原创不易,转载请注明出处:http:/product/gyczjb/163.html


?

Copyright © 2002-2020 石家庄石泵j9.com业有限公司 版权所有 →侵权必究← 备案号:冀ICP备15020164号

在线客服
热线电话
j9.com厂家电话